PHC株式会社

NEWS お知らせ

News

お知らせ:PHC株式会社が、令和6年度関東地方発明表彰の「発明奨励賞」を受賞

2024年11月1日
PHC株式会社

PHC株式会社(本社:東京都千代田区、代表取締役社長:中村 伸朗、以下「PHC」)は、この度、公益社団法人発明協会(所在地:東京都港区、会長:内山田 竹志)が主催する「令和6年度地方発明表彰」の「関東地方発明表彰(※1)」において、血液凝固能測定試薬の液状化の実現、および保冷庫のスライド扉密閉構造が「発明奨励賞」を受賞しましたのでお知らせいたします。

地方発明表彰は、大正10年に開始された表彰事業で、全国を8地方(北海道・東北・関東・中部・近畿・中国・四国・九州)に分け、各地域において優れた発明、考案又は意匠を生み出した技術者・研究開発者を顕彰するものです。本発明表彰においてPHCの発明者が表彰されるのは、本年度で9年連続となります。

本発明の詳細については、以下をご確認ください。

■関東地方発明表彰・発明奨励賞

発明名称 「血液凝固能測定試薬の液状化の実現」
公報記載発明名称 「組織トロンボプラスチン含有血液凝固能測定試薬及び測定方法」(特許登録第6116231号)
受賞者 PHC株式会社 診断薬事業部 試薬・機器推進部 門脇 淳
PHC株式会社 LSIメディエンス 診断薬事業部 研究開発部 小島 正美
PHC株式会社 LSIメディエンス 診断薬事業部 研究開発部 日裏 久英

*受賞者に関する情報は、申請日時点の情報に基づいて記載しています。公表時は、PHC診断薬事業部への事業再編移管に伴い転籍しています。

コアグジェネシス

凝固線溶検査のひとつであるプロトロンビン時間(PT)は、出血傾向のスクリーニングや、抗凝固薬のモニタリングに用いられる重要な検査です。従来のPT試薬は安定性の維持が難しいことから、凍結乾燥状態で販売されており、ユーザーが使用時に蒸留水を加えるなどの調製作業が必要でした。そのため、ユーザーの負担が大きく、さらに調製作業に起因するバイアル間差(の発生)が課題でした。
本発明は、試薬中にオリゴペプチドを処方することで、PT試薬の液状安定性が大きく向上することを見出したものになります。本発明を用いた体外診断用医薬品である『コアグジェネシス PT』は、主に全自動血液凝固検査システムSTACIA CN10に搭載され、高い測定精度の提供やユーザビリティの向上に貢献しています。


プロトロンビン時間キット
一般的名称 プロトロンビン時間キット
販売名 コアグジェネシス PT
承認番号 23000EZX00046000
血液凝固分析装置
特定保守管理医療機器
一般的名称 血液凝固分析装置
販売名 全自動血液凝固検査システム STACIA CN10
届出番号 13B1X10144000038

■関東地方発明表彰・発明奨励賞

発明名称 「保冷庫のスライド扉密閉構造」
公報記載発明名称 「保冷庫の密閉構造および保冷庫」(特許登録第7230218号)
受賞者 PHC株式会社 バイオメディカ事業部 LSソリューション開発部 津久井 伸幸
PHC株式会社 バイオメディカ事業部 HCソリューション開発部 森 栄市
PHC株式会社 バイオメディカ事業部 LSソリューション開発部 土居 英二

*受賞者に関する情報は、申請日時点の情報に基づいて記載しています。

製品例:MPR-S150H
製品例:MPR-S150H

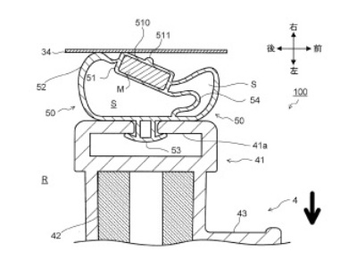
医薬品や試薬等を低温環境で保存する薬用冷蔵ショーケース(以下、「保冷庫」)は、庫内の冷気が外部に漏れないよう、スライド扉にマグネットパッキンを取り付けることで密閉性を維持しています。しかし、冷気の漏れを安定的に防止するために強い磁力のマグネットを用いると、より強い力で扉を開ける必要があり、操作性が悪くなるという課題がありました。
本発明では、扉のマグネットを傾斜させて扉枠に固定させるとともに、パッキンの形状と構造を工夫することで、スライド扉と扉枠との密着性を向上させるだけでなく、より少ない力で扉の開放操作を行うことを可能にします。この結果、スライド扉の断熱性が高まり、省エネや結露の発生防止に寄与します。本発明を用いた当社の保冷庫は、世界各国の医療現場や、創薬、ライフサイエンス分野における研究・開発の発展に貢献しています。

扉と扉枠(長尺部材)の平面断面図
扉と扉枠(長尺部材)の平面断面図
扉の開放動作時の平面断面図
扉の開放動作時の平面断面図

(※1) https://koueki.jiii.or.jp/hyosho/chihatsu/R6/jusho_kanto/index.html

<PHC株式会社について>

1969年に設立されたPHC株式会社は、グローバルに展開する日本発のヘルスケア企業であるPHCホールディングス株式会社(証券コード 6523 東証プライム)の日本における事業子会社です。PHC株式会社は、医療機器や体外診断薬、治療モダリティの開発を支援する研究・医療支援機器などを提供し、健康を願うすべての人々に新たな価値を創造し豊かな社会づくりに貢献することを経営理念として、世界125以上の国と地域のお客様に製品・サービスをお使いいただいています。
www.phchd.com/jp/phc

お問い合わせ先

PHC株式会社
電話:03-6778-5311
E-mail:phc-pr@gg.phchd.com

以 上